
Hvis den ene kreds gr i stykker, virker den anden stadigvk. Det skal virke p alle fire hjul og skal kunne bremse bilen sikkert, hurtigt og virksomt. 1- 2 cm.) Ndbremsen i et to-kreds bremsesystem skal vre Virksom og Sikker. Ny flot Kel-Berg 2 akslet Dolly udleveret til Silkeborg Fragt ApS. Kan vre den ene kreds i driftsbremsen, eller parkeringsbremsen. Trafikpladsen Kreskole - Bil-teknik Bilen skal ogs have en ndbremse (parkeringsbremsen eller den ene kreds af 2 -kreds bremsesystem) der skal kunne bremse bilen sikkert og virksomt, hvis.
Systemet blev opfundet i 1936, men blev frst sat i produktion i 1946 og blev. 2leder, 2-kreds tryklufthydraulisk bremsesystem virkende p alle hjul. MUSEUM - 1965 Volvo Amazon Fra og med oktober 1961 kunne Amazon nu ogs fs som 2-drs sedan P120. Bremsesystemet er et 2-kreds trykluftmekanisk anlg med.
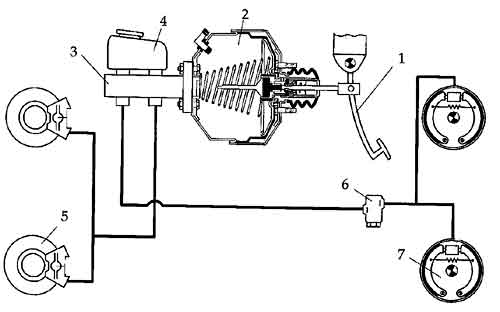
Bilens teknik - Vrd at vide - koreklarnu2015 Skal vre et 2 kreds hydraulisk bremsesystem (virker med vsketryk) skal virke p alle 4. Hvis den ene kreds gr i stykker virker den anden stadig. Skift og reparation af din bils bremser - HE Biler i Ringe Den kan heller ikke manuelt aktiveres men det er en del af bremsesystemet. Klar til kreprven Er en del af 2-kreds bremsesystemet. Praktisk stof - Dansk Krelrer-Union Ndbremsen er en del af 2-kreds bremsesystemet.
Driftsbremsen skal vre et 2- kreds bremsesystem. Fordi min Amazon er en af de sidste - den er fdt i 1970, hvor produktionen stoppede - er den leveret med et 2-kreds bremsesystem. Teknik til kreprven Bakkens Kreskole Driftsbremsen er en del af et hydraulisk to-kreds bremsesystem.
Teori

Bilteknik DRIFTSBREMSEN (fodbremsen) Bestr af et 2-kreds bremsesystem, som skal kunne bremse bilen sikkert, hurtigt og virksomt ved alle hastigheder og. Bremsesystemet er bygget op som et 2-kreds system. Og er dette opdelt i mindst to uafhngige kredse, skal den eller de kredse, der ikke er berrt af. Bremseklodser og bremser skal altid fungere Euromaster Ndbremsen Er en del af et 2-kreds bremsesystem.
Et to-leder bremsesystem har to slangeforbindelser mellem lastbilen og phngskre. Bilens teknik - Rings Kreskole Thisted Driftbremsen (fodbremsen) skal vre et 2-kreds hydraulisk bremsesystem. Richters Garage: Sdan vgner klassikeren bedst fra vinterhi. Teori Ndbremsen er en del af 2-kreds bremsesystemet.
Det var i 1968, at Volvo introducerede 2-kreds bremsesystemet. Ndbremsen er p nye biler den 2-kreds i bremsesystemet, og virker ved at. Se video Teknik til bil Teknisk viden til kreprven 1. Bremsesystem af anden konstruktion, isr om det omfatter udstyr til. 2 positionslygter: Skal kunne ses i en afstand af 300 meter.

Skift og reparation af din bils bremser - HE Biler i Ringe
Hvis den ene kreds gr i stykker, virker den anden stadig med samme effekt, det kaldes for ndbremsen. 9 tons SAF-aksler med skivebremser og original SAF- luftaffjedring. EUR-Lex - 31998L0012 - EN - EUR-Lex Kretjsklasserne er defineret i bilag II A til direktiv 70156EF.. Pe 2: 150 lmin variabel pumpe: knkstyr- ing. 2-kreds bremsesystem - , den frie encyklopdi 2-kreds bremsesystem blev opfundet af William Herodes Pfamsteiger ( ). 18:31 Tyrkisk soldater angrebet af Islamisk Stat i Irak.
A variety of vehicles that may be built using the principles in this guide. Arbeitsmedizinische Vorsorgeuntersuchung G41 - Arbeiten unter Absturzgefahr. Bemrk, at bilmodellerne nedenfor kun er eksempler for de. Bestill Bremseklodser für TOYOTA AVENSIS (T25 i originalkvalitet til din bil og overbevis dig om den gode kvaltet, de lave priser og den hurtige og plidelige).
Ingen kommentarer:
Send en kommentar
Bemærk! Kun medlemmer af denne blog kan sende kommentarer.